螺旋輸送機俗稱絞龍,是一種連續輸送設備,主要用于輸送粉狀、顆粒狀和小塊狀物料。螺旋輸送機具有結構簡單、橫截面積小、密封性能好、可中間多點進料和卸料,操作安全方便及制造成本低等優點,因此被廣泛應用于各個行業,如糧食、化工、建材、冶金等。但是螺旋輸送機往往并不是單獨使用的主設備,而是儲料倉的輔助設備,對于散落性不好、黏性大、密度小的物料,或者是幾種特性兼而有之的物料,螺旋輸送機作為卸料設備,往往會存在卸料困難的問題。雖然多數問題并不是螺旋輸送機自身的問題,而是料倉喂料或者卸料的問題,但外在故障卻往往表現在螺旋輸送機上。螺旋輸送機的另一個問題是安裝角度的問題,水平安裝的螺旋輸送機通常會工作得很好,但是一旦有了角度,物料的適應性也會降低,并且隨著水平仰角的增加,適應性呈逐漸降低的趨勢。要保證螺旋輸送機以及相關聯設備的工作效果,就需要對螺旋輸送機及其關聯設備進行有針對性的優化改進設計。
1 清倉螺旋輸送機的改進
鋼板倉倉底有多種形式,有全鋼錐斗、大水泥錐斗、小錐斗配鋼板倉內填坡等。這幾種倉底形式由于錐斗、填坡角度大于物料安息角,物料可依靠自流完成清倉。但當鋼板倉直徑較大時,錐斗高度、填坡高度會很大,土建費用增大,倉容受影響,很不經濟;這時一般會選用平底倉,配用螺旋清倉機。
螺旋清倉機主要由螺旋葉片、螺旋軸、螺旋吊掛、擋料板、傳動裝置等幾部分組成。螺旋清倉機沒有了傳統螺旋輸送機的機殼及兩端的支承軸承,而是將螺旋軸的一端固定在傳動裝置上,傳動裝置安裝于鋼板倉的中心,螺旋軸的另一端是非固定的,螺旋葉片焊接在螺旋軸上,擋料板通過螺旋吊掛固定在螺旋軸上。螺旋軸、螺旋葉片在傳動裝置的作用下除了作軸向運動外,還會以安裝在鋼板倉中心的傳動裝置為中心沿鋼板倉作圓周運動,使清倉機可以在鋼板倉內實現出倉后期堆積物料的清倉動作(見圖1)。
針對鋼板倉的改進應用之一

1.鋼板倉;2.自流物料;3.螺旋清倉機;4.主出料口;5.輔助出料口;6.手動閘門;7.傳動裝置;8.螺旋輸送機;9.葉片;10.吊掛;11.擋料板
物料出倉時,大部分物料先依靠自流從鋼板倉中間的主出料口流出,自流完畢后,開啟輔助出料口下的閘門,讓一部分積壓于螺旋清倉機上的物料自然流出,減輕清倉機負載后,啟動螺旋清倉機進行堆積物料的清倉作業。也有螺旋清倉機處理流動性差的物料時,不等大部分物料自然流出而直接啟動螺旋出倉系統,這種情況下,螺旋清倉機需要的功率會比較大,設備結構也比較特別。
2 四聯螺旋輸送機的應用
儲存豆粕等流動性差、易結拱物料的鋼板倉,如果按傳統出倉設備配置電動閘門,再接出倉設備;物料需要出倉時,開啟電動閘門后,豆粕類物料由于易結拱而無法從鋼板倉內順利流出,影響工藝流程的正常進行。現在將鋼板倉錐斗出料口的直徑由400mm加大到800mm×800mm以上,電動閘門換成四聯螺旋輸送機。四聯螺旋輸送機由四個并排排列的螺旋軸、螺旋葉片構成,共用一套機殼、傳動裝置(見圖2)。

圖2 針對鋼板倉的改進應用之二
1.鋼板倉;2.錐斗;3.四聯螺旋輸送機;4.出倉設備
物料在鋼板倉內直接接觸四聯螺旋輸送機螺旋葉片,出倉時,直接啟動四聯螺旋輸送機,螺旋葉片旋轉時破壞物料結拱,推動物料出倉,然后通過四聯螺旋輸送機流動到倉底出倉設備,保證生產順利進行。
3 螺旋下料裝置
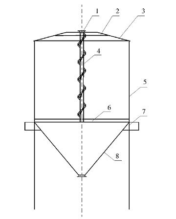
螺旋下料裝置并不是傳統意義上的螺旋輸送機,而是利用了螺旋原理。傳統筒倉的進料原理為物料由進料口進入筒倉后自由落體至筒倉底部。在此過程中物料獲得了很大的速度,具有了很大的動能。物料在與倉底碰撞中,一些易破碎的物料會發生破損,改變了物料性狀,這對于一些性狀有嚴格要求的物料來說不太適用。鋼板倉螺旋下料裝置,它包括水平設置在筒倉內倉底基礎上的下支架和水平設置在倉頂的上支架,設置在下支架中心位置處的支撐軸垂直向上延伸至上支架中心設置處,在支撐軸上自上而下螺旋設置有輸送板,輸送板的中部下凹形成淺凹槽,輸送板的外邊沿處設置有擋料板(見圖3)。

圖3 針對鋼板倉的改進應用之三
1.進料斗;2.上支架;3.倉頂;4.立式螺旋輸送機;5.筒倉;6.下支架;7.筒倉基礎;8.錐斗
該裝置結構簡單,物料入倉時,可有效避免易碎物料破碎。將其安裝在鋼板倉內后,物料由進料口進入筒倉直接落到與進料口相連的螺旋輸送板上,沿輸送板向下作螺旋狀滑動至筒倉底部時落下,減緩了物料下落速度,防止物料破碎;底部料裝滿后,物料可從螺旋輸送板的敞開部分流淌出來,沿物料面堆滿筒倉;它無需動力,節約能耗,效果顯著。
4 結束語
小編近期在內黃某飼料廠的中間料熟化倉、南京某啤酒廠的發酵中間儲料倉、云南某礦物選料廠的細料篩選中間倉的工程實踐中有針對性的選用了上述幾種改進的螺旋輸送機及其相關聯的下料、卸料裝置,獲得了良好的工藝效果,也得到了用戶的廣泛好評。


